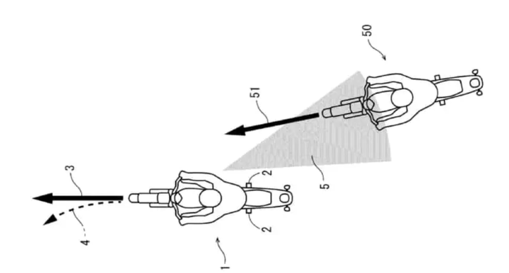
當汽車主動安全系統越來越先進,機車騎士卻只能靠自己的反應來閃避危險。不過這個情況可能即將改變!Honda 近期提交一項全新專利,要把汽車界的緊急轉向輔助技術移植到二輪世界。這套系統透過攝影機監控盲點,當偵測到後方有車輛快速逼近且存在碰撞風險時,系統會主動介入龍頭轉向,協助騎士閃避危險。簡單來說,這台車會在緊急時刻「幫你轉彎」,讓肉包鐵的機車也能享有主動安全防護。
延伸閱讀:Honda 打造《寶可夢 朱紫》「故勒頓」實體化機車!超帥神獸坐騎完美還原!

Honda 本田機車自動轉向專利曝光!盲點偵測結合主動閃避系統!
Honda 深知機車的動態比汽車複雜得多,龍頭的轉動直接影響平衡、傾角以及騎士的心理安定感。因此這套系統設計了兩種不同的介入模式:當騎士已經開始轉向或煞車,代表已察覺到危險,系統會判斷情況並給予較強的轉向輔助力道,協助騎士更快完成閃避動作。反之,若騎士完全沒有反應,系統會判定騎士可能尚未注意到潛在風險,此時不會突然大幅作動,而是以漸進式的方式逐步增加轉向扭力,避免龍頭突然被扯動而嚇到騎士造成失控。這種細膩的判斷邏輯,展現 Honda 試圖在安全與穩定性之間取得平衡的用心。

-
Honda HRC 打造最強越野休旅! Passport TrailSport HRC 概念車性能細節曝光!
本田(Honda)賽車部門這次玩真的!就在 2025 東京移動展熱鬧登場之際,Honda Racing Corporation(HRC)搶先預告將在 11 月 SEMA 汽車零配件展發表 Passport TrailSport HRC 概念 ...2025-10-31 -
Honda Prelude Type R 傳開發中!性能突破 350 匹內幕曝光!
Honda 約會神車 Prelude 重新復活後訂單爆棚,不過卻傳出車主實測零百加速竟然比自家 MPV 休旅車 STEPWGN 還慢,讓不少車迷傻眼。消息一出立刻在網路上掀起熱烈討論,有人質疑 Honda 是不是太保守了?不過就在大家議論紛 ...2025-10-21 -
2025 台灣國產休旅車前三季銷量排行 TOP 10!Honda CR-V 第三名、冠軍飆破 3 萬輛!
2025 年前三季台灣國產休旅市場掀起超狂銷售戰,最新數據曝光讓車迷全傻眼!Toyota(豐田)展現無敵宰制力,不僅包辦冠亞軍,更直接拉開與對手的巨大鴻溝。Corolla Cross 以驚人的 31,987 輛累積銷量穩坐國民神車寶座,這數 ...2025-10-15 -
「Red Bull x Honda x 藤原浩」四方聯名迎接 F1 日本站盛事!閃電賽車 T 潮到出水!
近日,Red Bull 聯合 Honda 與潮流教父藤原浩的 fragment design 加上洛杉磯車文化品牌 TokyoDriveCarClub,這場「四方聯名」簡直是地表最狂組合!為慶祝 4 月 2 日東京台場的「Red Bull ...2025-03-28 更新 -
鴻海有望併購日產、本田?!劉揚偉親曝:「即將宣布!」
本田 (Honda) 與日產 (Nissan) 在去年底舉行聯合記者會,宣布兩車廠計劃合併成立控股公司,一舉成為世界第三大的汽車集團,引起全球車壇一片震驚。但就在上周傳出兩家大廠對合併後規劃的意見有所分歧,導致聯盟計畫恐怕胎死腹中。據報導日 ...2024-12-24 更新 -
Seiko 5 Sports 55週年推出Honda Super Cub聯名第三彈,致敬二輪經典傳奇
今年正逢Seiko 5 Sports 55週年,同時也是Honda品牌創立75週年,而經典車款Super Cub 推出時至也已65週年,為慶祝品牌雙方「三乘」週年盛事,再次推出第三彈聯名款,以1958年第一款Super Cub C100為設 ...2023-09-01 -
中國眾泰汽車推出全新電動車「江南 U2」,遭質疑神似本田「Honda e」!
中國的「山寨文化」可說是眾所皆知,無論任何商品都可以推出「相似」的替代品,就連車子都不例外!像是之前曾為大家報導過的「山寨 Land Rover」、「山寨 Toyota Tundra」等車款,近日又爆出中國眾泰汽車新推出的「江南 U2」疑似 ...2023-03-13 -
Apple Car 位居「新車主購車首選」第三名,就連馬斯克主導的特斯拉 Tesla 也落敗!
科技大廠蘋果 Apple 所推出的商品如 iPhone、iPad 與 AirPods 等,都是果粉們必入手的重點項目,其中傳聞已久的 Apple Car 更是讓許多人的期待值爆表。如今在一份研究報告裡就指出,許多車主的首選車排行榜單中,第三 ...2022-09-06 -
Honda 汽車可被駭客遠端解鎖車門、發動引擎偷車,研究人員曝:「所有 Honda 車都有可能」
日本知名車廠 Honda(本田汽車)長期以來都以出色的性能、恰到好處的價格而受到消費者喜愛,但現在根據研究人員指出,駭客可根據安全漏洞,直接遠端解鎖「所有 Honda 車款」,且還能打開車門、發動引擎,不用鑰匙就能輕鬆偷車,該研究也引起討論 ...2022-07-15 更新 -
百萬內就搞定!Nissan、Honda 等 3 台 2021「高 CP 值休旅車」推薦,小資族也能買得起~
說到車款,不少男性讀者關注的肯定是跑車、轎車,然而若要比豪華、寬敞、舒適度,也絕不能錯過「休旅車」啊!擁有一台休旅車,能容納的東西之多,無論是要與家人一同出遊,或是和朋友上山、下海旅行,都能讓你方便沒煩惱,今天就由編輯為各位潮人嚴選 3 輛 ...2023-06-12 更新
整套系統的核心技術包括車身配置的攝影鏡頭,即時監控機車周邊環境,特別是後方與側後方的盲區範圍。不過高度仰賴攝影鏡頭也帶來隱憂,若遇到鏡頭污損、雨水、泥沙附著,或是在光影交錯、逆光等複雜環境下,是否可能出現誤判仍是值得關注的課題。對機車而言,任何錯誤的轉向輔助都可能帶來比汽車更嚴重的後果。目前 BMW、Ducati 等大廠也都致力於雷達與輔助科技的研發,Honda 並非特例,但這項專利最終是否會量產仍是未知數。若這套輔助系統未來真的量產,預期會優先導入 Goldwing 或 Africa Twin 等旗艦休旅車款。這類車款往往承擔長距離騎乘任務,高速巡航與長時間行駛下,騎士更容易因疲勞而降低警覺性,透過系統輔助降低盲點風險確實有其實際價值。不過無論科技如何進步,騎士始終必須對路況與車輛周遭環境負起最終責任,輔助系統的角色終究只是輔助,而非可以完全依賴的自動駕駛。

本站圖片部分取自於網路,如有版權使用疑慮煩請告知。